2024年國際勘探開發有限公司秋季高校畢業生招聘入圍通用能力考試名單
中國石油2024年秋季高校畢業生招聘通用能力考試將于
北京時間2024年11月16日下午14:00開始。請于11月5日上午10:00前登錄網站http://cnpc2024.campustest.cn,在“信息采集”頁面確認是否參加通用能力考試,以便安排考場。
登錄賬號和密碼:將于11月3日下午至晚間陸續發送到個人投遞簡歷時預留的手機(短信)或郵箱(郵件)
具體操作方法和注意事項詳見以下鏈接:
《中國石油2024年秋季高校畢業生招聘通用能力考試參考意愿確認須知》
。ò葱彰匆襞判颍
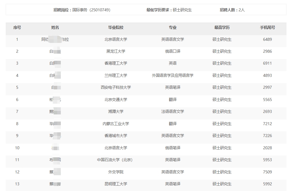
以下是部分崗位的部分名單,具體名單請點擊附件進行查看

掃描上方二維碼咨詢三桶油秋招問題
原標題:中國石油
文章來源:https://zhaopin.cnpc.com.cn/
聯系我們時,請一定說明在“銀行招聘網”上看到的,謝謝!
免責聲明:本網站所發布內容為轉載資訊,作為轉載主體并不承擔崗位真實性核查責任,僅供您瀏覽和參考之用,請您對相關內容自行辨別及判斷,本網站不承擔任何責任。如有內容、版權等問題請與本網聯系刪除。
熱門標簽: