2024年西南油氣田分公司秋季高校畢業生招聘入圍通用能力考試名單
中國石油2024年秋季高校畢業生招聘通用能力考試將于
北京時間2024年11月16日下午14:00開始。請于11月5日上午10:00前登錄網站http://cnpc2024.campustest.cn,在“信息采集”頁面確認是否參加通用能力考試,以便安排考場。
登錄賬號和密碼:將于11月3日下午至晚間陸續發送到個人投遞簡歷時預留的手機(短信)或郵箱(郵件)
具體操作方法和注意事項詳見以下鏈接:
《中國石油2024年秋季高校畢業生招聘通用能力考試參考意愿確認須知》
(按姓名拼音排序)
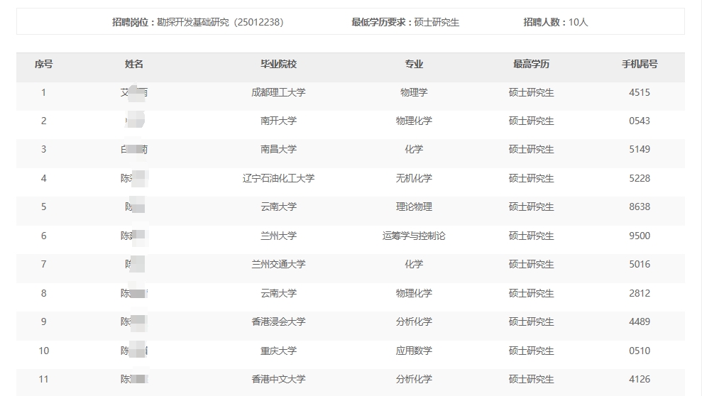
以下是部分崗位的部分名單,具體名單請點擊附件進行查看

掃描上方二維碼咨詢三桶油秋招問題
原標題:中國石油
文章來源:https://zhaopin.cnpc.com.cn/
聯系我們時,請一定說明在“銀行招聘網”上看到的,謝謝!
免責聲明:本網站所發布內容為轉載資訊,作為轉載主體并不承擔崗位真實性核查責任,僅供您瀏覽和參考之用,請您對相關內容自行辨別及判斷,本網站不承擔任何責任。如有內容、版權等問題請與本網聯系刪除。
熱門標簽: