2022-2023年烏審旗農村信用合作聯社校園招聘擬入圍人員名單公示
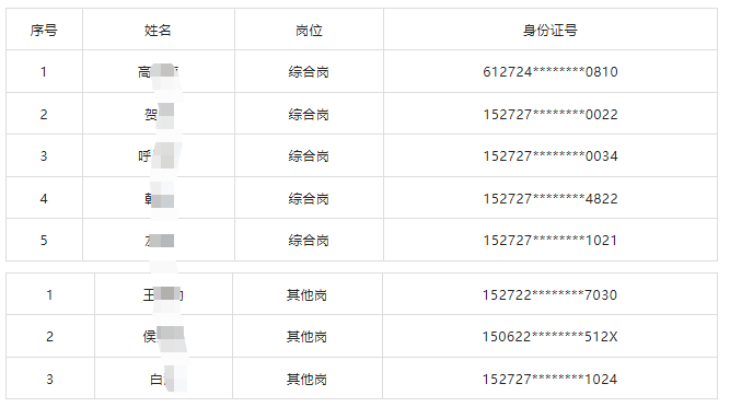
根據《內蒙古農村信用社2022-2023年度應屆高校畢業生校園招聘簡章》及《烏審旗農村信用合作聯社2022-2023年度應屆高校畢業生校園招聘工作方案》相關要求,烏審旗農村信用合作聯社2022-2023年度應屆高校畢業生校園招聘計劃為:綜合崗5人,其他崗3人,共計8人。現筆試面試工作已結束。
按照招聘崗位1:1的比例確定入圍人員,現將擬入圍人員進行公示,具體人員名單如下:


公示期:2023年1月30日至2023年2月3日(5個工作日)。
任何單位和個人可通過來訪、來函、電話等形式反映上述公示對象的有關情況和問題。對所反映問題請提供可供調查的證明人以及其他有關線索。烏審旗農村信用合作聯社對反映問題者以及所反映的問題將嚴格保密。
受理時間:工作日上午8:30-12:00,下午2:30-5:30






